Настольный сверлильный станок НС-12 был разработан Вильнюсским станкостроительным заводом «Жальгирис». От аналогичного оборудования он отличается простой компоновкой, надежностью и достаточно точными параметрами обработки материалов.
Конструкция станка
Эта модель предназначена для формирования отверстий в небольших заготовках из различных материалов: стали, дерева, полимеров. При наличии метчика может нарезаться резьба. Он нашел применение в комплектации ремонтных мастерских, имеет широкую популярность среди домашних мастеров.
Конструкция состоит из рабочего стола, который выполняет функцию основания. На его поверхности располагаются шлифованные пазы т-образной формы для фиксации заготовки. На станину установлена вертикальная колонна, в верхней части которой крепится электрическое оборудование, шпиндельная головка и валы для переключения количества оборотов.
В паспорте подробно описаны конструктивные особенности настольного станка НС-12. Они заключаются в следующем:
- использование чугунных корпусов. Это обеспечивает длительный срок безремонтной эксплуатации оборудования;
- удобная система смены частоты вращения шпинделя. Для этого на валу бабки и электродвигателя установлены шкивы различного диаметра. Привод осуществляется с помощью ременной передачи;
- точность обработки обеспечивает отчет глубины сверления по упору или по плоской шкале.
Оригинальная система натяжения ременной передачи дает возможность смены передачи. Но для этого необходимо дождаться полной остановки электродвигателя. Для привода шпиндельной бабки на станке НС-12А можно устанавливать плоские и зубчатые ремни.
Во время работы на оборудовании в обязательном порядке устанавливается защитный кожух на вал со шкивами шпинделя. Это предотвратит появление опасных ситуаций.
Технические характеристики

Для ознакомления с точными техническими параметрами станка модели НС-12 необходимо изучить паспорт оборудования. В нем указаны не только компоновка элементов и характеристики, но и даются рекомендации по эксплуатации.
Массы станка НС-12А 121 кг достаточно для гашения колебаний, которые неизбежно появляются во время работы. Его габариты составляют 77*46,5*70 см и позволяют устанавливать оборудование на небольшую площадь рабочего стола. Мощность электродвигателя относительно небольшая — 0,65 кВт. Однако в отличие от аналогичных моделей он рассчитана для подключения к однофазной сети 220 В, что дает возможность использовать сверлильный агрегат в домашних условиях.
Но для полноценного анализа возможностей настольного станка следует внимательно изучить технический паспорт. Там указаны основные характеристики оборудования:
- максимально допустимый диаметр сверления – 12 мм;
- расстояние от торца шпинделя до поверхности рабочего стола – от 2 до 42 см;
- вылет шпинделя — до 8,5 см;
- габариты рабочего стола – 36*36 см;
- число т-образных пазов для фиксации заготовки – 3 шт.;
- максимальное смещение головки шпинделя – 30 см;
- ход гильзы – до 10 см;
- варианты частот вращения – от 450 до 4500 об/мин;
- количество скоростей – 5.
Эти параметры позволяют выполнять сверление и формирование резьбы с помощью плашек с достаточно высокой точностью. Перед началом работы на станке НС-12А нужно ознакомиться с паспортом, изучить правила безопасности и методику проведения ремонтных и профилактических мероприятий.
Настольный сверлильный станок НС-12: характеристики и конструкция
Сверлильный станок НС-12, конструкция которого была разработана инженерами Специального конструкторского бюро №3 в Одессе, выпускался в 1950–1970-х гг. несколькими предприятиями СССР, рядом ремесленных и технических училищ. Наряду с моделью НС-12 производили и ряд ее модифицированных версий (НС-12А, НС-12Б, НС-12М), устройство и комплектация которых незначительно отличались от характеристик базового оборудования.

Внешний вид сверлильного станка НС-12
Назначение станка модели НС-12
Сверлильный станок модели НС-12 относится к категории настольного оборудования. Это говорит о том, что он пригоден для обработки деталей небольшого размера. Соответствующие габариты и невысокая производительность станка делают возможным его применение в ремонтных цехах производственных предприятий и небольших мастерских, специализированных классах технических и общеобразовательных учебных заведений. Нередко можно встретить такое устройство и в оснащении домашних мастерских.
Длительный срок эксплуатации, легкость использования, технического обслуживания и ремонта станка НС-12 обеспечиваются простотой его конструкции. При сверлении на таком станке глухих отверстий их глубина может регулироваться по плоской шкале или специальному упору.

Технические параметры сверлильного станка НС-12 различных модификаций
Использование в сверлильном станке многоступенчатой ременной передачи позволяет получать пять различных скоростей вращения шпиндельного узла. Что важно, ремень переставляется на шкив другого диаметра просто и быстро благодаря специальному механизму натяжения ремней.
Технические возможности сверлильного станка модели НС-12 позволяют выполнять различные виды обработки заготовок из чугуна, стали, цветных металлов и неметаллических материалов:
- сверление и рассверливание отверстий;
- развертывание;
- зенкерование;
- нарезание внутренней резьбы.

Габаритные размеры и посадочные места (нажмите для увеличения)
Элементы конструкции оборудования
Конструкция сверлильного станка НС-12 включает в себя следующие элементы:
- плиту-основание;
- колонну;
- хобот, на котором смонтирована шпиндельная группа оборудования;
- электроаппаратуру.

Расположение составных частей станка
Колонна, которая устанавливается на плиту-основание, крепится на ней при помощи специального башмака. По периметру плиты-основания располагается специальный желоб для сбора охлаждающий жидкости. Из желоба жидкость сливается через нижнее отверстие, которое закрывается резьбовой пробкой. В том случае, если охлаждающая жидкость подается из централизованной сети, в сливное отверстие вворачивается ниппель, к которому подсоединяется резиновый шланг.
Внутренняя часть массивной плиты-основания используется для размещения понижающего трансформатора и корпуса пакетного выключателя, который отвечает за освещение зоны обработки. На передней части плиты смонтирована кнопочная станция, при помощи которой включается главный электродвигатель станка.

Рабочий стол и колонна для станка НС-12
Вертикальное перемещение хобота по колонне осуществляется за счет реечной передачи, состоящей из рейки, закрепленной на колонне, и шестерни, смонтированной в хоботе. Управляют таким перемещением при помощи рукоятки, жестко соединенной с шестерней. Среди органов управления сверлильным станком есть еще одна рукоятка, при помощи которой хобот фиксируют на требуемой высоте.
Шпиндельный узел смонтирован на хоботе, также здесь располагаются плита с закрепленным на ней электродвигателем и механизм для натяжения приводных ремней. Сам шпиндель устанавливается в гильзе (пиноли) станка, которая может перемещаться в вертикальном направлении.

Шпиндельный узел станка
Управление перемещением гильзы, сообщающей шпинделю движение подачи, осуществляется посредством рукоятки, расположенной на боковой части хобота. Плавное и точное вращение шпинделя обеспечивается за счет его установки в опоры с прецизионными радиально-упорными подшипниками. Шкив шпиндельного узла сверлильного станка, представляющий собой пятиступенчатую конструкцию, также смонтирован на двух опорах с радиальными подшипниками.

Схема устройства шпиндельного узла
Электродвигатель станка монтируется на специальной плите и может перемещаться по ее направляющим. Такая конструкция обеспечивает быстрое ослабление приводного ремня в тот момент, когда его необходимо перекинуть на другой шкив, а также его быстрое натяжение, когда необходимо приступить к обработке.
Как работает кинематическая схема станка
Электродвигатель сверлильного станка приводит во вращение пятиступенчатый шкив, зафиксированный на его валу, крутящий момент от которого посредством клинового ремня передается на шкив шпиндельного узла. Вертикальное перемещение гильзы и, соответственно, шпиндельного узла осуществляется за счет зафиксированной на ней рейки и шестерни, которая жестко связана с соответствующей рукояткой управления.

Кинематическая схема сверлильного станка НС12
Хобот сверлильного станка НС-12 перемещается в вертикальном направлении также за счет реечной передачи, действие которой было описано выше. В башмаке, смонтированном на плите-основании, имеется специальный зажим, после ослабления которого можно поворачивать колонну вместе с хоботом вокруг своей оси.

Чертежи шкивов для станка НС-12 (нажмите для увеличения)
Для обеспечения безопасности оператора на ременную передачу сверлильного станка монтируется литой или удлиненный сварной кожух.
Что включает в себя электрическая схема устройства
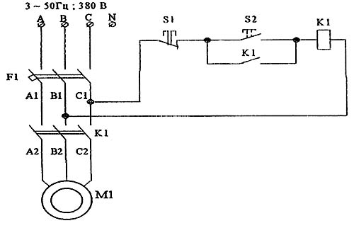
Такая характеристика станка данной модели, как легкость в использовании и ремонте, определяется в том числе простотой электрической схемы. Элементами электрической схемы сверлильного станка НС-12, отвечающими за управление оборудованием, являются кнопка «Пуск», при нажатии на которую запускается приводной электродвигатель, и кнопка «Стоп», при помощи которой электродвигатель отключается.
Характеристики сверлильного станка предусматривают наличие местного освещения, включаемого при повороте ручки соответствующего пакетного выключателя. Для работы системы местного освещения требуется использование понижающего трансформатора, который монтируется в непосредственной близости от станка.

Схема электрическая станка НС-12А (слева) и станка НС-12Б (справа) (нажмите для увеличения)
Выполняя монтаж станка НС-12 после его приобретения или ремонта, следует обязательно позаботиться о заземлении, что сделает эксплуатацию устройства безопасной и исключит риск поломки из-за короткого замыкания.
Местом установки сверлильного станка данной модели с учетом его небольших габаритов являются преимущественно столы или верстаки. При этом они должны быть достаточно надежными, чтобы обеспечить высокую устойчивость станка в процессе выполнения технологических операций.
НС-12 станок сверлильный настольный
Описание, характеристики, схемы
Разработчик настольно-сверлильного станка модели НС-12 — Специальное конструктрское бюро специальных станков СКБ-3, г. Одесса — 1947. 90-е годы.
Станок производился станкостроительными заводами и несколькими ремесленными и техническими училищами Советского Союза в 50..70-х годах прошлого века.
Настольный сверлильный станок НС-12 имеет несколько модификаций (НС-12, НС-12А, НС-12Б, НС-12М), которые незначительно отличаются друг от друга по конструкции и комплектации.
Сверлильные станки. Общие сведения.
Синонимы: drilling machine, bench type drilling machine, centre drilling machine, co-ordinate drilling machine, radial drilling machine, deep drilling machine, multi spindle drilling machine, centre drilling machine
Сверлильные станки предназначены для сверления, зенкования, зенкерования, развертывания отверстий, для подрезания торцов изделий и нарезания резьб метчиками. Применяются они в основном в единичном и мелкосерийном производстве, а некоторые модификации этих станков - в условиях массового и крупносерийного производства.

Кинематические связи вертикально-сверлильного станка
Основными формообразующими движениями при сверлильных операциях являются: главное - вращательное движение v и движение подачи s шпинделя станка. Кинематические цепи, осуществляющие эти движения, имеют самостоятельные органы настройки i v и i s . посредством которых устанавливается необходимая скорость вращения инструмента и его подача.
Основными параметрами станка являются наибольший диаметр сверления отверстия по стали, вылет и максимальный ход шпинделя.
Сверлильные станки подразделяются на
- Станки сверлильные настольные служат для обработки отверстий диаметром до 16 мм (например, в приборостроении). Настольные станки строят для наибольшего условного диаметра сверления отверстий в стальных деталях (σ в = 500 ÷ 600 Мн/м2) 3; 6; 12 и 16 мм.
- Станки вертикально-сверлильные (колонные) служат для обработки отверстий диаметром - 18; 25; 35; 50 и 75 мм, используются для получения отверстий в деталях относительно небольшого размера в условиях индивидуального и мелкосерийного производства, в ремонтных цехах и т. п.
- Станки радиально-сверлильные для обработки тяжёлых и крупногабаритных деталей. Вылет радиально-сверлильных станков составляет 1300 ÷ 2000 мм.
- Станки координатно-сверлильные предназначены для обработки отверстий в кондукторах, приспособлениях и деталях, для которых требуется высокая точность взаимного расположения отверстий. Наряду с растачиванием на станках могут выполняться сверлильные операции, чистовое фрезерование, разметка и проверка линейных размеров, в частности межцентровых расстояний.
- Станки сверлильно-фрезерные комбинированные
- Станки для глубокого сверления (горизонтально-сверлильные) обычно используют при обработке глубоких отверстий (например, в осях, валах, стволах стрелковых и артиллерийских систем и т. п.).
- Станки центровальные служат для получения в торцах заготовок центровых отверстий.
- Станки сверлильные многошпиндельные служат для одновременной обработки (главным образом сверления) нескольких отверстий.
В промышленности наибольшее распространение получили вертикально-сверлильные и радиально-сверлильные станки.
НС-12 станок сверлильный настольный. Назначение и область применения
Станок предназначен для сверления отверстий и нарезания резьбы в мелких деталях из чугуна, стали, цветных сплавов и неметаллических материалов в условиях промышленных предприятий, ремонтных мастерских и бытовых мастерских.
Простота конструкции обеспечивает легкость управления, надежность и долговечность станков.
Отсчет глубины сверления производится по плоской шкале или упору.
Пятиступенчатые шкивы привода позволяют получать пять скоростей вращения шпинделя, что обеспечивает свободный выбор скоростей резания.
Оригинальная конструкция натяжения ременной передачи позволяет быстро менять положение ремня на шкивах для получения нужной скорости резания.
Станки НС-12 позволяют выполнять следующие операции:
- сверление
- зенкерование
- развертывание
- рассверливание
- нарезание резьб
Аналоги настольного сверлильного станка НС-12
2М112 — Ø12 — Кировский станкостроительный завод, г. Киров
НС-12А — Ø12 — Вильнюсский станкостроительный завод «Жальгирис»
НС-12Б, НС-12М
ЕНС12 — Ø12 — Ейский станкостроительный завод ЕСЗ, г. Ейск
ОД71 — Ø12 — Оренбургский станкозавод, г. Оренбург
НС-12Б, НС-12-М — Ø12 — Барнаульский станкостроительный завод
ШУНСС-12 — Ø12 — Мукачевский станкостроительный завод, с. Кольчино
ГС2112 — Ø12 — Гомельский завод станочных узлов
ЗИМ1330.00.00.001 — Ø12 — Завод им.Масленникова, ЗИМ-Станкостроитель, г. Самара
МП8-1655 — Ø12 — СтанкоСтроительный завод им. Кирова, г. Минск
БС-01 — Ø12 — Беверс, г. Бердичев
ВС3-5016 — Ø12 — Воронежский станкозавод
Р175М — Ø12 — Чистопольский завод АвтоСпецОборудование, г. Чистополь
Р175, Р175М — Ø13 — АвтоСпецОборудование
ВИ 2-7 — Ø14 — Волгоградский инструментальный завод
MD-23 — Ø14 — Каунасский станкостроительный завод «Нерис»
Габаритные размеры рабочего пространства, посадочные и присоединительные базы сверлильного станка НС-12Б

Общий вид сверлильного станка НС-12

Расположение составных частей сверлильного станка НС-12Б

Спецификация составных частей сверлильного станка НС-12Б
- Плита
- Колонка
- Хобот (шпиндельная бабка)
- Гильза (пиноль) шпинделя
- Шпиндель
- Рукоятка подачи пиноли шпинделя
- Зубчатая рейка
- Электродвигатель
- Плита электродвигателя (подмоторная плита)
- Стопор устройства натяжения ремня
- Башмак (кронштейн крепления колонки к плите)
Краткое описание конструкции и работы настольного сверлильного станка НС-12
Станок состоит из следующих основных частей: плита 1; колонка 2; хобота со шпиндельной группой 3; электрооборудования 8.
На плите закрепляется башмак 11, в отверстии которого устанавливается колонка 2. Колонка закрепляется путем затяжки башмака.
По периметру плиты расположен желоб для сбора охлаждающей жидкости. В нижней части желоба имеется спусковое отверстие с пробкой. При подключении станка к централизованной подаче эмульсии вместо пробки может быть завернут ниппель с резиновым шлангом.
Внутри плиты вмонтирован понижающий трансформатор и корпус пакетного выключателя (для местного освещения), а снаружи - кнопочная станция (для электродвигателя станка).
На колонке закреплена рейка 3 (рис. 4) (m = 2), в зацеплении с которой находится шестерня, вмонтированная в хобот, жестко закрепленная с рукояткой 4 (см. схему расположения органов управления). При повороте рукояток 3, 4 (рис. 6) хобот перемещается по колонке. После установки хобота на необходимую высоту рукояткой 3 хобот зажимают.
На хоботе закреплены шпиндельная группа 5, электродвигатель 8 с плитой и натяжное устройство 10 для клинового ремня.
Шпиндель . разгруженный от шкива, установлен в гильзе 4 (пиноли) на прецизионных радиальноупорных подшипниках.
Гильза перемещается при повороте рукоятки 6 (рис. 1).
Передача вращения от шкива шпинделю осуществляется при помощи двух призматических шпонок.
Пятиступенчатый шкив шпинделя закреплен с помощью втулки на двух радиальных подшипниках.
Электродвигатель закреплен на подмоторной плите, направляющие которой свободно входят в соответствующие расточки в хоботе. После того как ремень накинут на соответствующую ступень шкива, эта плита оттягивается от хобота до нормального натяжения ремня и в этом положении фиксируется прижимными винтами.
Расположение органов управления сверлильного станка НС-12Б

Спецификация органов управления станка НС-12
- Кнопка отключения электродвигателя «Стоп»
- Кнопка включения электродвигателя «Пуск»
- Рукоятка зажима хобота (шпиндельной бабки) на колонке
- Рукоятка подъема и опускания хобота (шпиндельной бабки) по колонке
- Рукоятка подъема пиноли для ручной подачи шпинделя
- Винты зажима натяжного устройства
- Выключатель местного освещения
Кинематическая схема сверлильного станка НС-12Б

- Зубчатая рейка на гильзе шпинделя
- Шестерня для перемещения гильзы шпинделя
- Зубчатая рейка на колонке
- Шестерня для перемещения хобота (шпиндельной бабки) по колонке
Описание кинематической схемы
От электродвигателя при помощи клиноременной передачи через пятиступенчатый шкив приводится во вращение соединенный с ним посредством шпонок (и скользящий по ним) шпиндель станка.
При повороте рукоятки 5 (рис. 6) вращается шестерня 2 (рис. 4), которая передвигает рейку 1 и связанную с ней гильзу вверх и вниз.
Гильза, двигаясь в полости хобота, перемещает вверх и вниз шпиндель, связанный с гильзой радиальноупорными шарикоподшипниками.
Вертикальное перемещение хобота производится действием шестерни 4 (рис. 4), приводимой во вращение рукояткой 4 (рис. 6), на рейку 3 (рис. 4), укрепленную на колонке.
В случае надобности возможно поворачивать колонку вместе с хоботом вокруг ее оси после ослабления зажима башмака, в котором закреплена колонка.
Кожух ограждения ремня выполняется либо литой, либо сварной (удлиненный).
Электрооборудование и электрическая схема сверлильного станка НС-12Б

Электрооборудование сверлильного станка НС-12Б
Электрооборудование станка состоит из:
- электродвигателя мощностью 0,6 кВт
- кнопочного пускателя с кнопками «Стоп» и «Пуск»
- местного освещения с понижающим трансформатором и пакетным выключателем
Управление станком НС-12Б
1. Нажатием на кнопку «Пуск» кнопочного пускателя КП включается электродвигатель. Нажатием на кнопку «Стоп» кнопочного пускателя КП электродвигатель отключается.
2. Поворотом ручки пакетного выключателя ВО включается местное освещение ЛО. Станок должен быть заземлен.
Привод станка НС-12
Электродвигатель, посредством подмоторной плиты, прикреплен к бабке шпинделя. На оси электродвигателя находится ступенчатый шкив, который соединяется со шкивом шпинделя клиновым ремнем.
Местное освещение станка НС-12
Станок укомплектован аппаратурой для местного освещения. В связи с тем, что настольно-сверлильный станок, модели НС-12 чаще всего устанавливается на верстаках или столах, поэтому арматуру (кронштейн) и аппарат (трансформатор) местного освещения, при монтаже станка, требуется прикреплять вблизи станка, а если станок устанавливается у стены - то к последней.
НС-12 станок сверлильный настольный. Видеоролик.
Технические характеристики станка НС-12
Сверлильный станок НС 12А
Сверлильный станок НС 12А – общеизвестное на постсоветском пространстве детище Одесского конструкторского бюро СКБ-3. Данный агрегат выпускался несколькими советскими заводами в 1950-1970-е годы. Агрегат НС12А – это, на самом деле, одна из модификаций популярной на тот момент модели. Его главная функция – сверление отверстий различного целевого назначения и создание резьбы в чугунных и стальных деталях, а также в неметаллических конструкциях и заготовках из цветных металлов.
Станки НС 12А активно использовались и продолжают использоваться как на крупных промышленных предприятиях, так и в мелких мастерских и цехах. Главное преимущество модели – простота конструкции. Сверлильный станок 12А отличается похвальной долговечностью. Агрегат также порадует своей удивительной ремонтопригодностью, которая подтверждается тем фактом, что станки, чей возраст переваливает за полвека, продолжают успешно работать на различных предприятиях нашей страны и ближнего зарубежья.

Сверлильный станок НС 12А поистине хорош для своей цены и функциональных возможностей. Он прост в управлении и не требует от оператора каких-то особых знаний или навыков. Более того, он характеризуется высокой производительностью и мощностью.
Инженеры, занимавшиеся разработкой этой модели, предусмотрели 5 скоростей вращения шпинделя. Это позволяет оператору станка подбирать оптимальный режим резания в зависимости от твердости материала, толщины заготовки и ряда других параметров. Сверлильный агрегат НС 12А имеет особую конструкцию натяжения ременной передачи. Это дает возможность производить быструю смену положения ремня на шкивах. Все это, разумеется, отражается на скорости работы и производительности труда.

Станок НС серии 12А – хоть и «древняя» машина, но легко справляется с зенкерованием, рассверливанием, развертыванием и рядом других операций наравне с более «молодыми» аналогами. Агрегату можно «доверить» широкий спектр самых разных производственных задач, с которыми он справится не хуже многих современных машин. К слову, об аналогах, — их у сверлильного станка марки НС 12А более чем достаточно. Среди самых популярных – модели 2М112, ГС2112 и ОД71. Все эти агрегаты – «выходцы» и Советского Союза. Модель 12А, к сожалению, не может адекватно конкурировать с техникой, выпускаемой сегодня европейскими и азиатскими компаниями. Тем не менее, она остается одной из самых доступных на рынке подержанных станков.
Особенности конструкции
Сверлильный станок НС 12А состоит из следующих конструктивных элементов: плита, хобот со шпинделем, колонка и электрическое оборудование. Плита нужна для фиксации башмака, в котором монтируется колонка. На плите располагается специальный отводящий желоб, предназначенный для сбора охлаждающей жидкости. В самой плите установлен понижающий трансформатор, а снаружи – специальный кнопочный модуль, предназначенный для управления работой станка. Колонка агрегата необходима для фиксации рейки, к которой цепляется шестерня, установленная в хобот. На хоботе фиксируется шпиндельный узел, электрический мотор и натяжной механизм.
Конструкция сверлильного станка НС 12А достаточно проста, что позволяет производить легкую замену вышедшего из строя узла или детали. Это считается плюсом данной серии в частности и советской техники в целом.
Технические характеристики
Станок марки НС 12А обладает достойными техническими параметрами. Он рассчитан на сверление 12-миллиметровых отверстий в металле, что уже говорит о его серьезных возможностях. Машина укомплектована выносливым 650-ваттным электрическим мотором, который обеспечивает вращение шпиндельной головки с максимальной интенсивностью в 4500 оборотов в минуту. Минимальная скорость вращения шпинделя на первой же передаче – 450 оборотов в минуту.
Сверлильный станок 12А укомплектован большим рабочим столом (габариты составляют 360х360 мм). При этом размеры самого станка — 770х465х700 мм, а масса – 121 кг.
Данная модель сверлильного станка – это надежная «рабочая лошадка», не требующая существенных затрат на обслуживание. Хорошая ремонтопригодность и надежность основных узлов стали основой популяризации модели на постсоветском пространстве.
Таким образом, если вы ищите бюджетный сверлильный агрегат, на который можно положиться, — вполне можно рассматривать НС 12А как потенциальный объект для покупки.
Настольно-сверлильный станок нс12а

Настольно-сверлильный станок модели; нс 12а используется для единичного или индивидуального производства и предназначен для сверления глухих и сквозных отверстий диаметром до 12 мм.
Органы управления настольно-сверлильного станка нс 12а

- Ручная подача шпинделя;
- Перемещения шпинделя по колоне;
- Фиксация шпинделя на колоне;
- Рукоятка управлением электродвигателя
Устройство настольно-сверлильного станка нс 12а

Настольно-сверлильный станок включает в себя следующие основные узлы:
В шпиндельной бабке установлены шпиндельный узел и механизм подъема, которые предназначен для осевого перемещения бабки по колоне. Колона, в свою очередь, крепиться к плите при помощи кронштейна. Поворот колоны на определенный угол осуществляется за счет освобождения болтов, а после поворота на заданный угол, последующем зажимом болтов.
Кинематическая схема настольно-сверлильного станка нс 12а

Электрическая схема настольно-сверлильного станка нс 12а

Шпиндель настольно-сверлильного станка нс 12а
Шпиндельный узел установлен в корпусе 8, а сам шпиндель монтирован в гильзе 4 и на двух подшипниках 3 и 7.Крутящий момент шпиндель получает от втулки 9 и шкива 10.
Ручная подача шпинделя осуществляется при помощи рукоятки, связанная с валиком-шестерней 6 и гильзой с рейкой 4.
Для снятия патрона с конуса шпинделя, используется гайка 2.

Настройка и наладка настольно-сверлильного станка нс 12а
Установка шкалы на глубину сверления выполняется следующим образом: поворотом штурвала 3 подвести режущий инструмент к поверхности детали и засверлить на глубину конусной части инструмента. Потом винтом 5 освободить хомут 4 на гильзе 6 и установить нулевую риску шкалы заподлицо с поверхностью выступа 2.Зафиксировать хомут на гильзе и нижнюю гайку 1 напротив цифры, соответствующей необходимой глубине сверления.
Для перемещение шпиндельной бабки по колоне необходимо освободить рукоятку 6 и одновременно поддерживать рукоятку 7 во избежание самовольного опускания бабки.

Сверлильный станок НС 12А – общеизвестное на постсоветском пространстве детище Одесского конструкторского бюро СКБ-3. Данный агрегат выпускался несколькими советскими заводами в 1950-1970-е годы. Агрегат НС12А – это, на самом деле, одна из модификаций популярной на тот момент модели. Его главная функция – сверление отверстий различного целевого назначения и создание резьбы в чугунных и стальных деталях, а также в неметаллических конструкциях и заготовках из цветных металлов.
Станки НС 12А активно использовались и продолжают использоваться как на крупных промышленных предприятиях, так и в мелких мастерских и цехах. Главное преимущество модели – простота конструкции. Сверлильный станок 12А отличается похвальной долговечностью. Агрегат также порадует своей удивительной ремонтопригодностью, которая подтверждается тем фактом, что станки, чей возраст переваливает за полвека, продолжают успешно работать на различных предприятиях нашей страны и ближнего зарубежья.
Сверлильный станок НС 12А поистине хорош для своей цены и функциональных возможностей. Он прост в управлении и не требует от оператора каких-то особых знаний или навыков. Более того, он характеризуется высокой производительностью и мощностью.
Инженеры, занимавшиеся разработкой этой модели, предусмотрели 5 скоростей вращения шпинделя. Это позволяет оператору станка подбирать оптимальный режим резания в зависимости от твердости материала, толщины заготовки и ряда других параметров. Сверлильный агрегат НС 12А имеет особую конструкцию натяжения ременной передачи. Это дает возможность производить быструю смену положения ремня на шкивах. Все это, разумеется, отражается на скорости работы и производительности труда.

Станок НС серии 12А – хоть и «древняя» машина, но легко справляется с зенкерованием, рассверливанием, развертыванием и рядом других операций наравне с более «молодыми» аналогами. Агрегату можно «доверить» широкий спектр самых разных производственных задач, с которыми он справится не хуже многих современных машин. К слову, об аналогах, — их у сверлильного станка марки НС 12А более чем достаточно. Среди самых популярных – модели 2М112, ГС2112 и ОД71. Все эти агрегаты – «выходцы» и Советского Союза. Модель 12А, к сожалению, не может адекватно конкурировать с техникой, выпускаемой сегодня европейскими и азиатскими компаниями. Тем не менее, она остается одной из самых доступных на рынке подержанных станков.
Особенности конструкции
Сверлильный станок НС 12А состоит из следующих конструктивных элементов: плита, хобот со шпинделем, колонка и электрическое оборудование. Плита нужна для фиксации башмака, в котором монтируется колонка. На плите располагается специальный отводящий желоб, предназначенный для сбора охлаждающей жидкости. В самой плите установлен понижающий трансформатор, а снаружи – специальный кнопочный модуль, предназначенный для управления работой станка. Колонка агрегата необходима для фиксации рейки, к которой цепляется шестерня, установленная в хобот. На хоботе фиксируется шпиндельный узел, электрический мотор и натяжной механизм.
Конструкция сверлильного станка НС 12А достаточно проста, что позволяет производить легкую замену вышедшего из строя узла или детали. Это считается плюсом данной серии в частности и советской техники в целом.
Технические характеристики
Станок марки НС 12А обладает достойными техническими параметрами. Он рассчитан на сверление 12-миллиметровых отверстий в металле, что уже говорит о его серьезных возможностях. Машина укомплектована выносливым 650-ваттным электрическим мотором, который обеспечивает вращение шпиндельной головки с максимальной интенсивностью в 4500 оборотов в минуту. Минимальная скорость вращения шпинделя на первой же передаче – 450 оборотов в минуту.
Сверлильный станок 12А укомплектован большим рабочим столом (габариты составляют 360х360 мм). При этом размеры самого станка — 770х465х700 мм, а масса – 121 кг.
Выводы
Данная модель сверлильного станка – это надежная «рабочая лошадка», не требующая существенных затрат на обслуживание. Хорошая ремонтопригодность и надежность основных узлов стали основой популяризации модели на постсоветском пространстве.
Таким образом, если вы ищите бюджетный сверлильный агрегат, на который можно положиться, — вполне можно рассматривать НС 12А как потенциальный объект для покупки.
Универсальный настольно-сверлильный станок НС-16 разработан и изготовляется согласно требованиям Министерства Обороны РФ для помещений ограниченных по высоте (КУНГ), в жестких условиях транспортировки автотранспортом по бездорожью.
При малых габаритах и весе имеет внутренний конус Морзе М2, что позволяет при необходимости устанавливать патрон от В6 до В16 (диаметр сверления от 0,5 до 16мм). Используя сверла с конусным хвостовиком позволяет уверенно производить сверление отверстий до 22мм.
Аналогов на рынке РФ нет.
По требованию заказчика комплектуется тисками, прижимной оснасткой, а также набором высокоэффективных сверл.
Электрооборудование установлено на траверсе, что при использовании СОЖ исключает попадание персонала под действие опасного для здоровья напряжения.
При использовании в конвейерных линиях и помещениях не ограниченных по высоте, ход траверсы может быть увеличен вдвое.
Область применения станка достаточно широка: его приобретают технические университеты, профессионально-технические училища, промышленные предприятия и опорные ремонтные базы Министерства Обороны РФ.
Станок соответствует классу точности «Н».
Габариты рабочего пространства НС16
Посадочные и присоединительные базы станка НС16

Составные части станка
- Плита;
- Стойка;
- Рейка;
- Траверса;
- Кожух ременной передачи;
- Салазки электродвигателя;
- Планка тормозная;
- Винт зажимной;
- Винт натяжной;
- Пульт;
- Вал - шестерня реечная;
- Электродвигатель;
- Блок электроаппаратуры;
- Крышка;
- Пружина возвратная;
- Вал шестерни;
- Ручка перемещения пиноли;
- Лимб;
- Гайка-барашек;
- Шкив;
- Втулка шлицевая;
- Стакан;
- Шпиндель;
- Пиноль;
- Гайка специальная (с левой резьбой);
- Кольцо;
- Сальник.
Устройство станка НС16
Конструктивно станок НС-16 смонтирован на литой плите 1, на которой закреплена стойка 2 с рейкой 3.
По стойке перемещается с помощью вала шестерни реечной 11 траверса 4. От самопроизвольного перемещения траверсы по стойке предохраняет планка тормозная 7, прижим которой регулируется винтом 8. В траверсе 4 размещен шпиндельный узел, состоящий из самого шпинделя 23 и пиноли 24.
Шпиндель 23 своим нижним концом закреплен через подшипники в пиноли 24 при помощи гайки 25 (с левой резьбой), кольца 26 и сальника 27. Верхним шлицевым концом шпиндель 23 через втулку 21 связан со шкивом 20 ременной передачи. Втулка 21 установлена с возможностью вращения через подшипники в стакане 22, жестко закрепленном на траверсе 4.
Пиноль 24 под воздействием вала-шестерни 16 через ручки 17 перемещается в траверсе. Отчет величины перемещения осуществляется по лимбу 18. Возврат пиноли 24 со шпинделем в верхнее положение осуществляется под воздействием пружины 15, которая своим внутренним концом связана с валом шестерней 16, а наружным с крышкой 14, замыкающейся через шпонку на траверсе 4.
На траверсе 4 установлены, с возможностью перемещения под воздействием винта 9, салазки 6 с электродвигателем 12.
В блоке электроаппаратуры 13 размещены выключатель автоматический и пускатель магнитный.
В пульте 10, закрепленном на траверсе 4, размещены кнопки «Пуск» и «стоп».
Кожух 5 клиноременной передачи состоит из двух съемных частей, закрепленных на траверсе при помощи гаек барашек 19. Для переброса ремня на необходимую ступень шкивов достаточно снять одну из частей кожуха.
Работа станка НС16
Включить станок в сеть выключателем в блоке 13, после пуска станка черной кнопкой включается электродвигатель 12. От электродвигателя вращение через клиноременную передачу, закрытую кожухом 5, передается на шпиндель в пиноли 24.
Пиноль перемещается при вращении вала-шестерни 16 при помощи рукоятки 17.
Отсчет вертикального перемещения при сверлении осуществляется по лимбу 18.
В конструкцию станка могут быть внесены изменения, не влияющие на его работоспособность, не отраженные в настоящей инструкции по эксплуатации.
Электрическая схема станка НС-16

Компактный настольный сверлильный станок предназначен для выполнения мелких работ. Его широко используют при необходимости сделать отверстие небольшого размера. Можно изготовить самодельный агрегат, но это не всегда рационально.

Настольный сверлильный станок позволяет обрабатывать небольшие корпусные детали своими руками путем:
- Сверления;
- Зенкерования;
- Рассверливания;
- Развертывания отверстий.
Если речь идет про настольный сверлильно фрезерный станок, то дополнительной возможностью оборудования становится выполнение заточки. Для мелкой заточки подобные агрегаты незаменимы, поскольку в одном корпусе объединяется сразу несколько полезных функций.
Широкую популярность завоевали станки НС 12, НС 12а, JDP 10l, 2н106п, 2сс1м, продукция Einhell, гс2116к, Bosch pbd 40, AC2116м и многие другие.
При развертывании отверстий возможности данных станков обеспечивают сверление диаметром от 0,2 до 16 миллиметров. Некоторые модели, помимо заточки, способны выполнять нарезку резьбы.
Конструкция агрегата предусматривает, что бытовые устройства для работы по металлу, дереву, полимерам устанавливаются на столах. Все подобные станки для сверления, заточки и прочих операций вертикально расположенные.
Настольный сверлильно фрезерный станок, а также его аналоги, могут применяться при обустройстве:
- Домашних мастерских;
- Ремонтных кабинетов;
- Профучилищ в качестве тренажерного оборудования;
- Небольших предприятий, занимающихся металлообработкой.
Технические характеристики

Работать своими руками с вертикально расположенными станками, предназначенными для сверления, заточки, развертывания отверстий довольно просто. Бытовые модели отлично подходят для домашнего применения. Их двигатель обеспечивает необходимую мощность и скорость вращения.
Чтобы грамотно подобрать вертикально сверлильный агрегат для заточки и прочих операций, необходимо обратить внимание на несколько его основных характеристик.
Большинство моделей вертикально сверлильных станок имеют ремень на 3-5 ступенчатых шкивах. С его помощью регулируется частота вращения шпинделя станка. Это играет важнейшую роль для достижения нужного результата обработки материала. При этом самыми значимыми характеристиками при покупке компактного вертикально сверлильного станка для развертывания, зенкерования и заточки являются:
- Максимально допустимое перемещение шпинделя. От этого зависит, какие заготовки сможет обрабатывать маленький вертикально сверлильный станок и насколько комфортно будет с ним работать.
- Мощность привода. Двигатель станка по дереву может быть менее мощным, чем двигателя для агрегата по металлу. Бытовые модели самые маломощные. Но если вы планируете работать по дереву, пластику, металлу, желательно выбирать двигатель с запасом мощности.
- Расстояние между столом и шпинделем. Определяет предельно допустимые размеры обрабатываемых заготовок. Для заточки, работы по металлу и дереву это играет заметную роль, потому постарайтесь своими руками принять правильное решение.
- Размеры стола. Существуют как мини вертикально сверлильные станки, так и просто компактные. Первые служат для обработки мельчайших деталей, микросхем. Бытовые компактные позволяют работать с более крупными изделиями. Отсюда и разница в размерах стола. Хотя некоторые делают стол своими руками. Самодельный агрегат полностью адаптируется под требования конкретного мастера. Потому самодельный станок имеет полное право на свое существование.
Пытаться соорудить самодельный агрегат своими руками, покупать недорогой советский станок или же купить бытовые заводские модели? Выбор целиком и полностью за вами. Скажем только, что соорудить самодельный станок своими руками — задача не из простых. Потому большинство выбирает готовые бытовые устройства для работы по металлу, пластику, дереву и пр.
Стоит ли строить самодельный станок? Если опыта нет, самодельный агрегат изготовить будет невозможно. Плюс самодельный аппарат не может отвечать всем требованиям безопасности и нюансам эксплуатации. Потому если стоит выбор самодельный или заводской, рекомендуем выбрать второй вариант.
Популярные модели
Рассмотрим несколько устройств, которые завоевали внушительную популярность среди вертикально сверлильных устройств. Они могут быть предназначены для заточки, развертывания, зенкерования и пр.
Мы изучим следующие вертикально сверлильные станки:
- НС 12, 12а;
- гс2116к;
- Einhell;
- JDP 10l;
- 2н106п;
- Bosch pbd 40;
- АС2116м;
- 2сс1м.
JDP 10l от JET
- Мощность устройства JDP 10l составляет 450 Вт;
- Питается от напряжения 220В;
- Весит станок JDP 10l 19 кг;
- Ход шпинделя — 50 мм;
- Величина вылета — 104 мм;
- Стол для JDP 10l имеет размеры 16 на 16 см;
- Частота вращения — от 580 до 2650 оборотов в минуту;
- Наклон у стола — 45 градусов.
Einhell
Вертикально сверлильные станки производства Einhell имеют ряд отличительных характеристик:
- Станки Einhell выпускают мощностью от 350 до 650 Вт;
- Скоростей у Einhell может быть от 5 до 12 единиц;
- Частота вращения у разных моделей Einhell — 210-2650 оборотов в минуту;
- Самые простые модели бытовые, но есть полупрофессиональный агрегат;
- Предназначены для работы по дереву, металлу своими руками, для заточки заготовок;
- Диаметр патронов для Einhell у всех моделей одинаковый — 16 мм;
- Цена моделей Einhell разная. Бытовые Einhell стоят около 7,5-8 тысяч рублей, а полупрофессиональный вертикально сверлильный агрегат Einhell обойдется в 22 тысячи рублей.
НС 12, НС 12а
НС 12 и НС 12а — это советский проект сверлильного станка, разработанный еще во времена СССР в Одессе. Примечательно, что НС 12 производили не только заводы, но и некоторые технические училища при СССР. Происходило это в 50-70-х годах прошлого века.
При этом советский агрегат до сих пор очень востребован. Модель НС 12 получила целый ряд модификаций, включая НС 12а.
- Масса НС 12а составляет 121 кг;
- Диаметр сверления у НС 12 и НС 12а максимально 12 мм;
- Шпиндель на агрегатах НС 12, НС 12а вылетает на 85 мм;
- Расстояние от стола до шпинделя может составлять 2-42 см;
- Головка шпинделя на НС 12, НС 12а смещается максимально на 30 см;
- Заготовки в НС 12, НС 12а фиксируются 3 т-образными пазами;
- Ход гильзы не превышает 100 мм;
- Частота вращения привода НС 12, НС 12а — 450-4500 оборотов в минуту;
- Станки имеют 5 скоростей.
Как и настольно сверлильный станок НС 16, модели 12 и 12а заслужили огромную популярность.
Bosch pbd 40
- Модель Bosch pbd 40 имеет мощность 710 Вт;
- Оснащается лазерным помощником 2 м;
- Для работы по металлу максимальный диаметр сверла Bosch pbd 40 13 мм;
- Для работы по дереву — 40 мм;
- С Bosch pbd 40 используются хвостовики от 1,5 до 13 мм;
- При сверлении на Bosch pbd 40 максимальная высота подъема составляет 90 мм;
- Весит агрегат Bosch pbd 40 11,2 кг;
- Частота вращения Bosch pbd 40 — от 200 до 2500 оборотов в минуту;
- Рабочий стол Bosch pbd 40 имеет габариты 330 на 350 на 30 мм;
- Станок по дереву и металлу Bosch pbd 40 оснащается встроенной подсветкой.
гс2116к
- У гс2116к максимальный диаметр сверления по металлу 18 мм;
- Станок гс2116к нарезает резьбу от М4 до М16;
- Ход шпинделя — 100 мм;
- Частота оборотов на гс2116к — от 200 до 2100 единиц;
- Вылет шпинделя станка гс2116к — 190 мм;
- Весит агрегат гс2116к 125 кг;
- Мощность устройства гс2116к 550 Вт;
- Питается от напряжения 380 Вт.
2н106п
- Модель 2н106п имеет максимальный диаметр сверления 6 мм;
- Может использовать самодельный рабочий инструмент;
- Расстояние от стола до шпинделя — 250 мм;
- Двигатель электрический, мощностью 400 Вт;
- Весит станок 2н106п 80 кг.
ас2116м
- Максимальный диаметр отверстий 16 мм;
- Ход шпинделя — 100 мм;
- Количество скоростей на ас2116м — 6;
- Частота оборотов шпинделя ас2116м — 170-2000 единиц;
- Мощность двигателя ас2116м 550 Вт.
Надежные и многофункциональные сверлильные станки обеспечивают возможностью выполнять целый ряд операций по обработке материалов.
Настольный сверлильный станок НС-12 был разработан Вильнюсским станкостроительным заводом «Жальгирис». От аналогичного оборудования он отличается простой компоновкой, надежностью и достаточно точными параметрами обработки материалов.
Конструкция станка
Эта модель предназначена для формирования отверстий в небольших заготовках из различных материалов: стали, дерева, полимеров. При наличии метчика может нарезаться резьба. Он нашел применение в комплектации ремонтных мастерских, имеет широкую популярность среди домашних мастеров.
Конструкция состоит из рабочего стола, который выполняет функцию основания. На его поверхности располагаются шлифованные пазы т-образной формы для фиксации заготовки. На станину установлена вертикальная колонна, в верхней части которой крепится электрическое оборудование, шпиндельная головка и валы для переключения количества оборотов.
В паспорте подробно описаны конструктивные особенности настольного станка НС-12. Они заключаются в следующем:
- использование чугунных корпусов. Это обеспечивает длительный срок безремонтной эксплуатации оборудования;
- удобная система смены частоты вращения шпинделя. Для этого на валу бабки и электродвигателя установлены шкивы различного диаметра. Привод осуществляется с помощью ременной передачи;
- точность обработки обеспечивает отчет глубины сверления по упору или по плоской шкале.
Оригинальная система натяжения ременной передачи дает возможность смены передачи. Но для этого необходимо дождаться полной остановки электродвигателя. Для привода шпиндельной бабки на станке НС-12А можно устанавливать плоские и зубчатые ремни.
Во время работы на оборудовании в обязательном порядке устанавливается защитный кожух на вал со шкивами шпинделя. Это предотвратит появление опасных ситуаций.
Технические характеристики

Для ознакомления с точными техническими параметрами станка модели НС-12 необходимо изучить паспорт оборудования. В нем указаны не только компоновка элементов и характеристики, но и даются рекомендации по эксплуатации.
Массы станка НС-12А 121 кг достаточно для гашения колебаний, которые неизбежно появляются во время работы. Его габариты составляют 77*46,5*70 см и позволяют устанавливать оборудование на небольшую площадь рабочего стола. Мощность электродвигателя относительно небольшая — 0,65 кВт. Однако в отличие от аналогичных моделей он рассчитана для подключения к однофазной сети 220 В, что дает возможность использовать сверлильный агрегат в домашних условиях.
Но для полноценного анализа возможностей настольного станка следует внимательно изучить технический паспорт. Там указаны основные характеристики оборудования:
- максимально допустимый диаметр сверления – 12 мм;
- расстояние от торца шпинделя до поверхности рабочего стола – от 2 до 42 см;
- вылет шпинделя — до 8,5 см;
- габариты рабочего стола – 36*36 см;
- число т-образных пазов для фиксации заготовки – 3 шт.;
- максимальное смещение головки шпинделя – 30 см;
- ход гильзы – до 10 см;
- варианты частот вращения – от 450 до 4500 об/мин;
- количество скоростей – 5.
Эти параметры позволяют выполнять сверление и формирование резьбы с помощью плашек с достаточно высокой точностью. Перед началом работы на станке НС-12А нужно ознакомиться с паспортом, изучить правила безопасности и методику проведения ремонтных и профилактических мероприятий.

Профессия директор по развитию Должностные обязанности директора по региональному развитию
Курсовая работа: Ликвидность и платежеспособность предприятия, методы оценки и управления
Использование показателей логистической деятельности
Понятие и элементы логистического процесса
Должностная инструкция начальника участка автотранспорта Должностная инструкция начальника транспортного упаковочного цеха